Микро ГЭС своими руками - конструкция и принцип работы

  • Опубликовано: 8 декабря 2010

Микро ГЭС своими руками - конструкция и принцип работы

Микро ГЭС своими руками. Для разработки и реализации проекта самодельной электростанции конструктору-любителю потребуется предварительно проанализировать особенности объекта, который должен снабжаться электроэнергией (отдельное строение, усадьба, туристическая база, несколько домов и т.п.), а также дебит воды и возможность получения перепада уровня её с помощью гидротехнического оборудования.

Микро ГЭС своими руками - конструкция и принцип работы

Если выясняется, что микроГЭС должна работать на постоянную нагрузку, с неизменной (в течение суток) мощностью потребления, расход воды регулируется ограничителем дебита. В простейшем случае это может быть закреплённая между двумя направляющими пластина (доска и т.д.).


В зависимости от складывающейся ситуации она легко ставится в положение ниже или выше «нормы». И здесь нет настоятельной необходимости в использовании накопительных аккумуляторов. В случае же существенной разницы в потреблении электроэнергии (особенно когда «ножницы» превышают киловатт-час) крайне желательной становится аккумуляторная батарея.


Дебит воды и высота, с которой поток устремляется к турбине, являются главными факторами мощности, отдаваемой ГЭС в нагрузку. Без них и в наших расчётах, как говорится, не обойтись.


Измерение дебита воды проводится с помощью секундомера и поплавка, на фиксированном участке реки (канала и т.д.). Контрольная длина этого участка - около 10 м. Поплавковая деталь измерения (лёгкий мяч, кусочек пенопласта и т.п.), установленная на стремнине, будет перемещаться без наталкивания на препятствия. А захронометрированная величина, в течение которой поплавок пройдет эти 10 м, позволит легко вычислить скорость самого потока.


Но каково же поперечное сечение русла?


Соответствующие промеры выполняют в трёх пунктах. По усреднённым данным находят поперечное сечение. Зная к тому же и скорость, рассчитывают сам дебит.


Создание нужного перепада уровней воды (транспортного канала) требует определённых гидротехнических работ; достаточно объёмных, но совершенно необходимых соответствующих конструкций (см. рис.). Энергетический же потенциал гидропотока вычисляют по формуле:


Wn = mgh


где,

  • Wn - потенциальная энергия;
  • m - масса воды, которая обрушивается за одну секунду на турбину (вот где пригодится найденный ранее дебит!);
  • g - ускорение свободного падения, равное 9,8 м/с2; h - высота падения воды (до выхода из турбины).
Микро ГЭС своими руками - конструкция и принцип работы

Рис.1. Схема расположения и состав микроГЭС:
1 - река с дебитом основного потока (вариант) 1,2 т/с, 2 - ограничитель дебита (подробности см. в тексте), 3 - канал транспортный с дебитом 0,4 т/с, 4 - лоток-направляющая на сваях (из подручных материалов: например, плах соответствующих типоразмеров и пород древесины), 5 - техническое помещение (из бруса и вагонки), 6 - стояк электропередачи (с укреплёнными на нём фарфоровыми изоляторами), 7 - линия электропередачи (двухпроводная воздушная), 8 - гидроэлектроагрегат в работе (а - ниспадающий поток воды, б - турбина в сборе, в - передача клиноременная двухступенчатая, г - узел промежуточного вала, д - электрогенератор, е - плита-основание стальная, ж - сваи лиственничные или дубовые), 9 - сток отработанной воды.
Микро ГЭС своими руками - конструкция и принцип работы

Рис.2. Гидротурбина:
1 - кольцо-венец (5-мм листовая сталь, 2 шт.), 2 - лопатка (5-мм, нержавейка, 12 шт.), 3 - барабан (1,5-мм, жесть), 4 - спица (из 500-мм отрезка 26-мм стальной рифлёной арматуры, 8 шт.), 5 - болт М12 (2 шт.), 6 - втулка-ступица (из отрезка трубы 100x20 стальной бесшовной), 7 - вал турбины (Ст 45), 8 - шарикоподшипник в корпусе (от сельхозтехники, самоустанавливающийся, 2 шт.), 9 - плита опорная (из отрезка швеллера № 18, 2 шт.), 10 - болт М20 с гайкой самоконтрящейся (4 шт.), 11 - шуруп крупногабаритный с потайной головкой (16 шт.), 12 - свая (из акации, дуба или лиственницы, 2150 мм, 4 шт.).

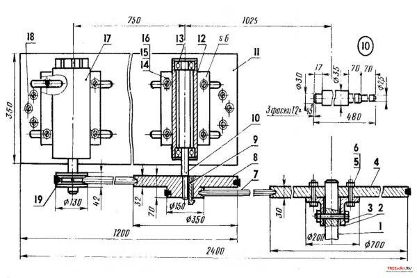
Микро ГЭС своими руками - конструкция и принцип работы

Рис.3. Кинематика одного из вариантов самодельной гидростанции с деталировкой основных узлов
(рабочее колесо турбины условно не показано):

1 - вал гидротурбины (Сталь 45), 2 - ступица маховика-шкива (Ст 5), 3 - болт М12, 4 - маховик-шкив ведущий первой ступени клиноременной передачи (Сталь 20), 5 - болт М10 (4 шт.), 6 - гайка М10 самоконтрящаяся (4 шт.), 7 - ремень кордотканый клиновой (2 шт.), 8 - шкив промежуточного вала (Сталь 20), 9 - шпонка клиновая, 10 - вал промежуточный (Сталь 45), 11 - плита стальная, 12 - корпус подшипникового узла с крышками (Ст 3), 13 - шарикоподшипник 180206 (2 шт.), 14 - болт М8(8шт.), 15 - шайба (8 шт.), 16 - гайка М8 (8 шт.), 17 - генератор постоянного тока (800 Вт, 24 В, 700об/мин.), 18 - шуруп крупногабаритный с шайбой (6 шт.), 19 - шкив генератора (Сталь 20).


Мощность, которую можно в идеале получить от турбины, предлагаемой для самостоятельного изготовления,- приблизительно 10 кВт. Работая в реальной микроГЭС, вариант которой изображён на рисунке, такая турбина способна отдать в нагрузку (с учётом неизбежных здесь потерь) 800 Вт. Исходя из этого выбран и генератор. У него следующие параметры: 800 Вт, 24 В, 700 об/мин.


Если принять во внимание тот факт, что вечером и ночью электроэнергия идет в основном на освещение (не потребляется только в течение 3-4 часов), а днем используется для электропитания 1-2 холодильников, то есть, видимо, имеет смысл накапливать её в аккумуляторах, соединённых для зарядки и работы в сети с напряжением 24 В. Но требуется, чтобы аккумуляторы находились как можно ближе к распределительному щиту. Ведь потери здесь растут пропорционально протяжённости линии и сечению электрокабеля.


К счастью, они не выходят за «норму» в нашей 150-метровой линии, где используется кабель, суммарное сечение алюминиевых жил которого составляет 25 мм2.


Дабы от энергии воды на микроГЭС не был потерян ни один ватт, прибегают к тому, что турбина снабжается лопастями, закреплёнными под углом, благоприятствующим максимальному использованию кинетики ниспадающего потока. Следующие друг за другом лопасти не смогут быть заторможены «усталой», отработавшей своё водой. И трение здесь сведено к минимуму. Ведь внутренняя поверхность у каждой из сформированных лопастями (лопатками) и барабаном турбины (своеобразных «чаш») заботливо отполирована. Предельно снижены и потери в клиноременной передаче, доводящей число оборотов у генератора до оптимального значения. Все валы - на шарикоподшипниках. Ремни не проскальзывают (их натяжение регулируется по месту крепления опор).


Теперь - о других конкретностях предлагаемой конструкции. Трёхсоткилограммовая турбина (см. рис.) выполнена из двух колец-венцов (листовая сталь), двенадцати лопаток (нержавейка), жестяного барабана, восьми спиц из стальной арматуры (диаметром 26 мм) и втулки-ступицы, закреплённой на рабочем валу с помощью двух болтовых соединений М12. Вал вращается на двух самоустанавливающихся (и обязательно герметичных - для предохранения от воды) шарикоподшипниках.


Всё это располагается на двух опорах, которые способны выдерживать нагрузку до тонны. Последние крепятся на четырёх, вбитых в грунт на 1,5 метра, сваях диаметром 200-250 мм (из акации). На валу турбины размещается маховик (диаметр 700 мм, масса около 80 кг), одновременно являющийся и ведущим шкивом двухступенчатой клиноременной передачи. Скорость его вращения - 80 об/мин (режим холостого хода) и 60 об/мин (под нагрузкой).


Для получения нужных генератору 700 об/мин введён промежуточный вал со шкивами: ведомым (D=150 мм) и ведущим (D=350 мм). С последнего крутящий момент передается уже на вал генератора постоянного тока. Шкив здесь, можно считать, ходовой (Z=130). А потому лучше взять его для нашей микроГЭС готовым. Например, подобрать подходящий со списанной сельхозтехники. Как, впрочем, и всё предыдущее. Но можно также изготовить самостоятельно. По методике, неоднократно и с достаточной полнотой публиковавшейся в журнале, а потому - хорошо знакомой многим нашим самодельщикам.


Остальное в рассматриваемой конструкции, думается, ясно из самих иллюстраций.

Следует также отметить, что данная разработка микроГЭС (на 24 В и 800 Вт) с успехом была реализована на территории лесничества Кошава для обеспечения электроэнергией палаток туристской лесной базы в долине Шаса (600 метров над уровнем моря).

МК 01 1996

Похожие самоделки

Имя:*
E-Mail:


Песочница RSSРеклама на сайтеFreeseller.ru - Полезные самоделки
Copyright © 2008-2025