
Миктротрактор мотоблок Малыш - самый дешевый из микротракторов, поскольку сделан в основном из утиля — узлов и Деталей, выпускаемых промышленностью для серийных машин.
Двухколесная машина, управляется идущим за нею человеком. Большой набор сменных прицепных и навесных орудий делает мотоблок универсальным, позволяет использовать его для вспашки, боронования, культивации, окучивания и других операций по обработке почвы, уходу за растениями.
Миктротрактор мотоблок Малыш - самый дешевый из микротракторов, поскольку сделан в основном из утиля - узлов и Деталей, выпускаемых промышленностью для серийных машин.
Двухколесная машина, управляется идущим за нею человеком. Большой набор сменных прицепных и навесных орудий делает мотоблок универсальным, позволяет использовать его для вспашки, боронования, культивации, окучивания и других операций по обработке почвы, уходу за растениями. А в сцепке с одноосной тележкой - и как транспортное средство для перевозки различных хозяйственных грузов. В последнем случае вы становитесь водителем и размещаетесь на подрессоренном сиденье спереди тележки.
Основными узлами конструкции мотоблока являются двигатель ВП-150М, трансмиссия, система отбора мощности, ходовая часть, система управления и прицепное устройство, скомпонованные на прямоугольной раме из швеллера.
Из моторов, выпускаемых промышленностью для техники, находящейся в личном пользовании, наиболее подходящим для мотоблока оказался двигатель ВП-150М от мотороллера «Электрон» мощностью 7,5 л. с. (5,5 кВт). Он одноцилиндровый, двухтактный, карбюраторный; имеет компактную встроенную коробку передач и муфту сцепления; у него электронное зажигание. Не менее важно и то, что мотор оснащен центробежным вентилятором, в то время как при использовании других двигателей самодеятельным конструкторам приходится кустарно решать вопросы принудительного охлаждения.
Рис. 1. Мотоблок «Малыш»:
1 - рама, 2 - глушитель, 3 - двигатель, 4 - топливный бак, 5 - фиксатор траверсы, 6 - траверса, 7 - фиксатор трапеции управления, 8 - инструментальная сумка, 9 - по перечная штанга траиецни, 10 - рычаг сцеплении, II - рычаг блокировки колес, 12 - рычаг газа, 13 - рычаг яереключеиня передач, 14 - рычаг реверса дифференциала, 15 - кожух трансмиссии, 16 - вал отбора мощности, 17 - заводной шкив, 18 - вал конечной передачи, 19 - навесное орудие (культиватор).
Случай использования других моторов приведем для сравнения основные данные по двигателю ВП-150М. Передача крутящего момента к коробке передач осуще-ствляется косозубой парой шестерен с пере-даточным числом 3,045. Сама коробка передач трехступенчатая, с шестернями постоянного зацепления. Передаточные числа по ступеням: у первой передачи -4,883, у второй -2,888, у третьей -1,800. Так как двигатель и коробка передач выполнены в одном моноблоке, описание их не приводится. Нет и особых требований по эксплуатации и техническому обслуживанию двигателя в комплекте с муфтой сцепления и коробкой передач; они регламентируются рекомендациями завода-изготовителя.
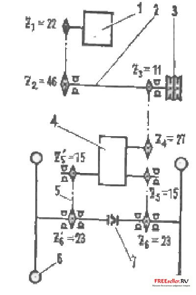
Трансмиссия мотоблока механическая, шестеренчато-цепная. Она состоит из серийного дифференциала с реверсом (от грузового мотороллера «Муравей»), промежуточного вала, двух конечных передач н механизма блокировки колес. Промежуточный вал одновременно служит для отбора мощности для навесных орудий. Крутящий момент передается от двигателя на промежуточный вал цепью с шагом 12,75; с него на дифференциал - цепью с шагом 15,875 мм и далее снова цепями конечных передач с шагом 15,875 мм - иа ведущие колеса. Звездочка Z1 принадлежит двигателю, Z4 находится в комплекте с дифференциалом, а Z2 и Z3 от мотоцикла «Восход».
Рис. 2. Компоновка трансмиссии:
1 - Выходной вал двигателя, 2 - промежуточный вал, 3 - дифференциал, 4 - полуось колеса.
Рис. 3. Кинематическая схема мотоблока:
I - двигатель, 2 - промежуточный вал, 3 - двух-ручьевой шкив отбора мощности, 4 - дифференциал, 5 - конечная передача, в - колесо, 7 - механизм блокировки колес.
Рама мотоблока может быть сварена из имеющихся под рукой подходящих профилей; для продольных ее лонжеронов использован швеллер № 6, а для поперечных - № 8. Снизу к горизонтальным лонжеронам рамы и к кронштейнам болтами крепятся корпуса подшипников полуосей. Здесь ставятся подшипники № 180207- по два на полуось; корпуса к ним лучше подобрать стандартные, со списанных сельхозмашин. Установка их на кронштейны должна быть выполнена особенно тщательно: следует как можно точнее выдержать соосность колес и перпендикулярность полуосей относительно продольной оси рамы Для разметки отверстий под крепление корпусов с подшипниками насаживаем их иа целиковую ось-оправку, которая впоследствии будет распилена на две полуоси. Показателем правильности установки корпусов будет свободное вращение оправки в подшипниках полуосей.
Рис. 4. Рама мотоблока в сборе:
1 - лонжероны, 2 - кронштейвы полуосей, 3 - корпус подшипника полуоси, 4 - кожух трансмиссии (иа виде сверху его правая половина ие показана), 5 - кронштейны крепления шейки выходного вала двигателя, в - передняя опора двигателя, 7 - кронштейны крепления шейки кикстартера.
Рис. 5. Промежуточный вал мотоблока:
1 - вал, 2 - место посадки шкива, 3 - стопорное кольцо, 4 - корпус подшипиикв, 5 - подшипник JA 180205, 6 - распорная втулка, 7 - звездочка Za, 8 - фланец, 9 - звездочка Z2, 10 - кожух.
Рис. 6. Возможные положения траверсы управления
Затем к раме в ее задней части привариваются уголки 25Х 25 мм, к которым привинчивается кожух трансмиссии, изготовленный из стального листа толщиной 5-6 мм. Он служит основанием для установки промежуточного вала, дифференциала и механизма управления. Задияй сторона кожуха имеет съемную крышку; передняя - кронштейн для крепления топливного бака.
Рис. 7. Полуоси с муфтой блокировки колес мотоблока "Малыш":
1 - направляющие втулки, 2 - возвратная пружина, 3 - ползуи, 4 - вилка, 5 -трос, в - полуось, 7 - неподвижная полумуфта, 8 - подвижная иолумуфта.
В передней части рамы изнутри привариваются уголки - кронштейн под дригатель с вентилятором принудительного охлаждения.
Ось (или полуоси) изготавливается из качественной стали, ее размеры могут уточняться в зависимости от имеющихся подшипников и размеров ступиц колес. С внутренней стороны на полуоси насаживаются две полумуфты. Правая из них свободно перемещается на квадрате и с помощью рычага, установленного иа штаиге управления, вводится в зацепление с левой полумуфтой, обеспечивая жесткое соединение полуосей - блокировку колес.
Рис. 8. Конечная передача мотоблока:
1 - кожух трансмисии; 2 - кожух конечной передачи; 3 - корпус подшипника, 4 - ведущий вал со звездочкой Zb, 5 - подшипник М 180205, 6 - швеллер JI6,7 - корпус подшипника, 8 - подшипник М 180207, 0 - ступнца колеса, 10 - шпонка, 11 - полуось, 12 - болт, фиксирующий ступицу, 13 - крышка подшипника, 14 - звездочка /t, 15 - уголок 25X 25 мм, 16 - дифференциал, 17 - распорная втулка.
Устройство органов управления понятно из рисунков. Штанги ручек соединены с траверсой зажимным шарниром, что позволяет регулировать высоту расположения ручек, подгоняя ее под рост оператора. Кроме того, сама траверса может поворачиваться на 180° или на необходимый промежуточный угол, что создает дополнительные удобства при управлении мотоблоком во время работы.
Конструкция разработана и испытана в деле студентами Харьковского института механизации и электрификации сельского хозяйства.