Самодельная пресс соковыжималка

  • Опубликовано: 31 марта 2010

Самодельная пресс соковыжималка


Основная часть пресса вертикальная прямоугольная рама. В нее помещается бак, а на него, на диск-крышку, устанавливается обычный автомобильный домкрат. С помощью такой соковыжималки можно всего за час переработать мешок яблок, получив сок хорошего качества.


Соковыжимающей техникой мы оснащены сегодня куда лучше, нежели домашние виноделы начала века. Появилось множество конструкций электрических соковыжималок, ручных прессов. И серийных, и самодельных. Предлагаем вам одну из наиболее удачных - пресс, сконструированный известным садоводом-иноватором и талантливым изобретателем Игорем Масловым. Этот механизм однажды даже демонстрировали по Центральному телевидению. Слово самому изобретателю.


 Рис.1. Внешний вид пресс соковыжималки.


Для изготовления пресса не требуется каких-либо дефицитных материалов: я использовал то, что было под рукой, прибегнув лишь к помощи сварщика, поскольку такая возможность была. Но, думаю, можно обойтись и без этого, ведь металлические части могут соединяться на болтах или заменяться соответствующими по прочности деревянными.

Рама - силовая часть пресса, поэтому к ней в первую очередь предъявляются требования по прочности. Я собрал ее из швеллеров, П -образных стальных профилей. Причем для удобства пользования и хранения сделал полусборной: сварные прямоугольные боковины соединяются между собой на болтах поперечными балками из тех же швеллеров: опорную пару снизу и усиленную (сдвоенную) упорную - верхнюю. В собранном виде рама устанавливается на два горизонтальных швеллера, идущих вдоль боковин изнутри, и соединяется с ними шарнирно - за счет этого можно, не разбирая установку, наклонять ее для слива остатков сока после прессования.


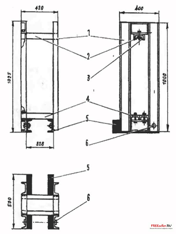
Рис. 2. Рама пресса:
 1 - боковины (швеллер 100), 2 -упорная балка (швеллер 100), 3 - усиление балки (швеллер 80), 4 - опорная пара балок (швеллеры 100), 5 - основание (швеллеры 100), 6 - шарнир (болт M10).


Бак устанавливается на опорную пару швеллеров. Он сварен из листа нержавейки толщиной 3 мм; в случае использования углеродистой стали емкость необходимо изнутри облудить. В верхней части бака, примерно в 20 мм от кромки, приделывается сливная трубка длиной 60 мм.


Рис. 3. Бак с комплектом для прессования:
 1- брусок-проставка, 2- диск-подпятник домкрата, 3- дне к-пуансон, 4- мелкая сетка, 5- крупная сетка, в- бак со трубкой.


Многие удивятся: почему слив находится в верхней, а не в придонной, как обычно, части бака. В этом-то и заключается новизна и особенность устройства. Ведь практика показывает, что выдавливаемый сок всегда собирается сверху - значит, и сливать его удобнее именно отсюда, а внизу остается жом.

В комплект бака входят также две круглые металлические сетки, укладываемые поверх яблок: первая с размером ячеек 1 мм, вторая - 0,5 мм (чтобы сетки не рассыпались, по периметру они опаяны); деревянный (дуб, бук) диск-пуансон с отверстиями для прохода сока; еще один диск меньшего диаметра (чтобы не перекрывал отверстия пуансона) и проставка-бобышка из деревянного бруса, используемая, когда не хватает хода домкрата.

Домкрат автомобильный, развивающий усилие до 5 т. Он устанавливается на заполненный (2-3 ведра яблок) бак в сборе с пресс комплектом и упирается в верхнюю поперечину рамы.

Хочу сразу оговорить некоторые ограничения по возможным заменам деталей Они касаются прежде всего диска-пуансона: не столько по материалу для его изготовления, сколько по его толщине - она не должна быть меньше, потому что благодаря ей и происходит вытеснение вверх и «подача» к сливному отверстию отжатого сока. А вот верхнюю сетку можно заменить. Она играет роль фильтра, поэтому вместо нее вполне подойдет и сложенная в несколько слоев марля. Точно так же b нижние швеллеры: вместо них используйте деревянные балки подходящего сечения. соединенные для устойчивости поперечинами. Назначение этого основания - обеспечить наклон пресса для слива остатков сока.

Сам же процесс получения сока состоит из двух операций. Первая - подготовительная: яблоки предварительно дробятся в небольшом бочонке толкушкой, чтобы их больше вместилось в бак пресса и легче проходил отжим сока. Затем в заполненный бак укладываются сетки, диск-пуансон, меньший диск-подпятник домкрата и ставится сам домкрат с упором в верхнюю поперечину рамы. Далее домкрат приводится в действие, как обычно, рычагом-удлинителем, и сок начинает подниматься к сливному отверстию. По мере опускания пуансона при необходимости под домкрат подкладывается брусок-проставка. Когда выделение сока прекратится, установка наклоняется благодаря шарниру в основании - и остатки сока сливаются. Затем цикл повторяется.

Самодельная пресс соковыжималка на фото:

 

 

И. Маслов


3

комментария

56 500

просмотров

Похожие самоделки

Комментариев 3
  1. Где купить самодельную соковыжималку????
    -2
  2. самому изготовить или на барахолке искать....
    0
  3. Чертёж плохой-размеры размыты- не видно
    +2
Имя:*
E-Mail:


Песочница RSSРеклама на сайтеFreeseller.ru - Полезные самоделки
Copyright © 2008-2025