
Держателей электродов существует немало. Я же разработал наипростейшую (если не учитывать хорошо известную «лапку» из трех наспех сваренных арматурин), но, как показала практика, достаточно надежную модификацию. Буду рад, если она приглянется другим мастеровым. Мой держатель рассчитан для наиболее распространенных электродов D3 и D4.
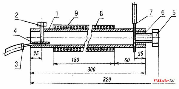
Основой держателя служит 300-мм отрезок полудюймовой толстостенной стальной трубы. В 25 мм от одного торца в заготовке выполнено отверстие с резьбой М8 для зажима зачищенного конца силового кабеля от сварочного агрегата (при помощи болта и контактной пластины).
Рис.1. Самодельный держатель электродов:
1 - основание; 2 - болт М8; 3 - кабель силовой; 4 - пластина контактная; 5 - болт М10; 6 - гайка M10; 7 - электрод; 8 - рукоятка (намотка провода ПРППМ2-1,2); 9 - слой прорезиненной изоленты.
В другой торец впрессована (вваривать нет необходимости) обточенная на конус гайка М10 - под болт фиксации электрода. Последний вставляется в сквозное отверстие диаметром 4 мм, предварительно просверленное в 25 мм от этого торца. Оформлена и рукоятка - намоткой виток к витку провода в термостойкой изоляции, закрепленного слоем прорезиненной изоленты.
А. Зеленин, Крснодарский край,
Мк 06 1999