
Многие туристы по достоинству оценили станковые рюкзаки. Они имеют легкий, но прочный жесткий каркас, который обеспечивает мягкому, в сущности, вещмешку удобную коробчатую форму, более выигрышную как для укладки походного груза, так и для переноски его на спине.
А как же быть тем, кто уже имеет обычный рюкзак. Советую оснастить его встроенной разборной рамкой из дюралюминиевых трубок. Она справится с нагрузкой не хуже каркаса покупного станкового рюкзака К тому же в отличие от последнего может с пользой послужить вам и на привале три из четырех трубок легко вынимаются из рюкзака и, будучи состыкованными вместе, превращаются, например, в прочную стойку У меня она, в частности, служит единственной опорой самодельной шатровой палатки.
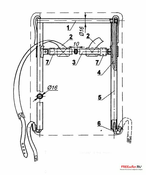
Рис.1. Разборный станок для рюкзака:
1 - верхняя перекладина, 2 -лямки рюкзака, 3 - поперечина, 4 - стержень-скоба; 5 - стойка, 6 - крючок, 7 - кулиска
Для оснащения рюкзака разборным каркасом не потребуется капитальной его переделки. Достаточно будет лишь вшить на внешней стороне мешка,обращенной к спине, на уровне крепления верхних концов лямок, продолговатую узкую кулиску. В нее вставляется поперечина - чуть сплющенная дюралюминиевая трубка с закрепленными на концах втулками, в которые входят вертикальные трубчатые стойки. А там, где находятся нижние лямки, стойки крепятся металлическими крючками с вертикальным шипом.
Для сборки рамки две трубки-стойки вставляются сверху во втулки поперечины и надеваются на шипы крючков. Вверху же эти трубки соединяются еще одной поперечной трубкой, которая фиксируется с помощью двух вставных скоб-стержней, заточенных один - под шило, другой - под отвертку Они, кстати, тоже смогут выполнять в походе дополнительные функции
В.Юрьев
МК 02 2008